スポンサーリンク
サイト内に一部広告が含まれています。
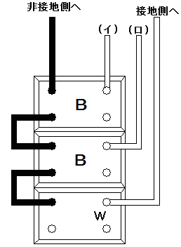
二台の照明器具をそれぞれ片切(B)スイッチスイッチで操作し、同じスイッチボックスにコンセントも取付けるより実用的な結線を
で分かりやすくご紹介しています。
図解と動作確認アニメで直感的に見られるので、現場での確認にスマホでの閲覧を意識した構成にしてあります。
また、電気工事士技能試験の練習課題の参考にしていただけるとも考えていますので、電気工事士試験の受験を控えた方にもご覧いただけたらと思います。
二つの片切(B)スイッチでそれぞれ照明器具を操作して、さらにコンセントも同じスイッチボックス内に取付ける結線も実際の現場でも活用することのあるより実践的な結線です。

前回と違って今回は、片切スイッチと照明がそれぞれ増えていますが、基本的な考え方は前回のものと同じなので、ゆっくりと複線図を見れば、そんなに難しくないことが判るはずです。

ジョイントボックス内が結線でいっぱいになるので、結線を始める前にケーブルを整理することをお薦めします。
その時に便利なのが「ホーザン(HOZAN) 合格クリップ」で、
結線を整理してケーブルの長さを揃え、最終的にジョイントボックス内に無理なく収められるようにするのに有効です。
※電源は照明コンセントで共通です。

※配線器具取付後、固定する際にケーブルを無理やり押し込む事が無いように配慮が必要です。
ご紹介している「片切(B)・片切(B)スイッチ・シングルコンセント」は最も多く利用されている配置です。

片切(B)スイッチ二つとコンセントの結線は、照明が2台になり、それぞれに片切スイッチを配置しています。
結線自体は、さほど難しくありませんが、ここで気を付けなくてはならないのは、コンセントと照明が同一回路ですので、配線器具取付の際に非接地側にわたり線を入れることです。
すでに現場で電気工事をされている方にとっては、常識ですが、これから電気工事士試験を受験される方には、十分注意していただきたいポイントです。
そして、ボックスに収めるときには、決して無理をしてケーブルを押し込まないようにしてください。
思わぬ接触不良や漏電のリスクが高まります。
同じような使い方として洗面所のスイッチで、照明、換気扇スイッチと扇風機や掃除機の使用を想定したコンセントとして利用することがあります。
このほかにも台所等でも同じような使い方をすることがあったりしますので、用途としてはかなりニーズのある取付方法だと思われます。
カテゴリーTOPへ
こちらで電気工事に使う工具をご紹介していまので、お探しのものがございましたらご覧ください。
スポンサーリンク